Ispisni diskovi
Područje ispisa za ispisni disk iznosi od 17 mm (0,67 inča) unutarnjeg promjera do 1 mm (0,04 inča) vanjskog promjera površine za ispis.

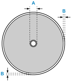
Područje ispisa
- A: 17,0 mm (0,67 inča)
- B: 1,0 mm (0,04 inča)

S114
Područje ispisa za ispisni disk iznosi od 17 mm (0,67 inča) unutarnjeg promjera do 1 mm (0,04 inča) vanjskog promjera površine za ispis.

Područje ispisa